土壤温湿度计
一、产品介绍
1.1产品概述
GR-WSDB系列土壤温湿度计适用于土壤温度以及水分的测量,精度高,响应快,输出稳定,受土壤含盐量影响较小,适用于各种土质。可长期埋入土壤中,耐长期电解,灌封,防水。
该传感器广泛适用于科学实验、节水灌溉、温室大棚、路基、边坡等工程地含水量和温度的测量。
1)精度高,响应速度快、互换性好。
2)土壤含盐量影响较小,可适用于普通土质。
3)电极采用特殊处理的合金材料,可承受较强的外力冲击,不易损坏。
4)密封,可埋入土壤或直接投入水中进行长期动态检测。

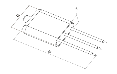
尺寸(单位:mm)
三、土壤温湿度计的使用方法
选合适的测量点,避开石块,确保钢针不会碰到坚硬的物体,按照所需测量深度抛开表层土,保持下面土壤原有的松紧程度,紧握传感器垂直插入土壤,插入时不可左右晃动,一个测点的小范围内建议多次测量求平均值。
垂直挖直径>25cm的坑,在既定的深度将传感器钢针水平插入坑壁,将坑填埋严实,稳定一段时间后,即可进行连续数天测量和记录。

1、测钢针必须全部插入土壤里。
2、避免强阳直接照射到传感器上而导致温度过高。野外注意防雷击。
3、勿暴力折弯钢针,勿用力拉拽传感器引出线,勿摔打或猛烈撞击传感器。
4、传感器防护等级IP68,可以将传感器整个泡在水中。
5、由于在空气中存在射频电磁辐射,不宜长时间在空气中处于通电状态。
四、土壤温湿度计的设备安装说明
4.1 设备安装前检查
设备清单:
■传感器设备1台
宽电压电源输入4.5~30V均可。485信号线接线时注意A/B两条线不能接反,总线上多台设备间地址不能冲突。
线色 | 说明 | 备注 |
棕色 | 电源正 | 4.5~30V DC |
黑色 | 电源地 | GND |
黄色 | 485-A | 485-A |
蓝色 | 485-B | 485-B |
备注:本产品解释权厂家所有,如果跟新或者变动请联系厂家。